SA49减速机铭牌参数说明解读含义:有关型号描述的详细情况及其他信息可以参阅本业附件下载中的SA49减速机选型样本。
SA49-BEJB1.1KW-4P-17.62-M2-180°
SA:系列代号
49:减速机规格代号
BEJB:电机
1.1KW:电机功率
4P:电机级数
万彩网281617.62:减速机传动比
M2:减速机安装位置
180°:接线盒位置

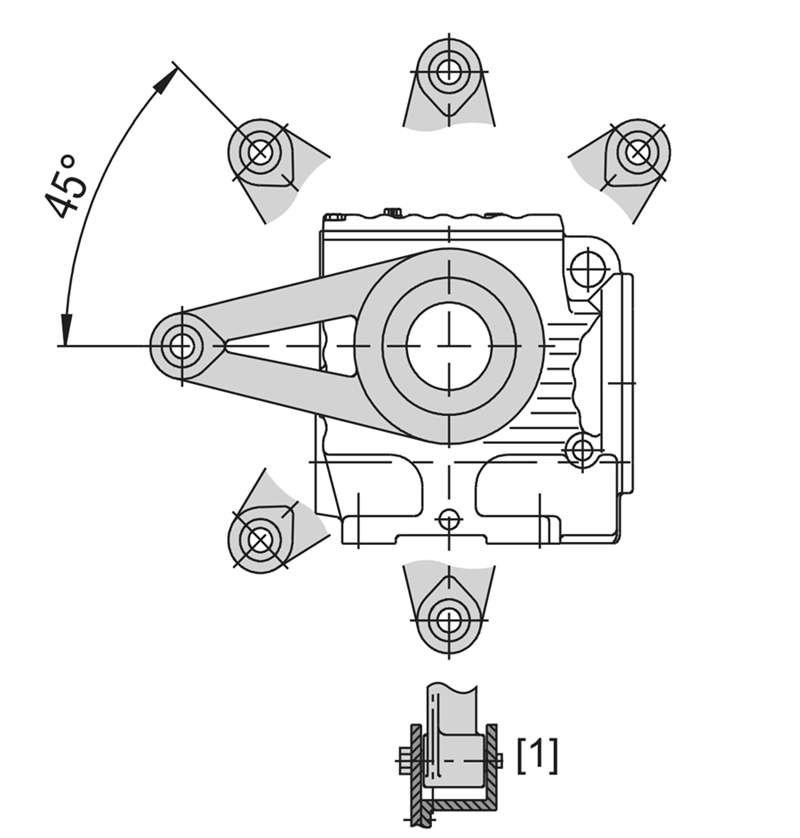
SA49减速机扭力臂安装:
装配时不得对扭矩支架用力过猛,固定扭矩臂时应采用强度为8.8级的螺栓。下图为SA49减速机的扭力臂安装示意图:两面均安装支架。齿轮减速电机

减速机型号 | 螺栓 | 拧紧扭矩 |
SA39减速机 | 万彩网28164xM6x16-8.8 | 11Nm |
SA49减速机 | 万彩网28164xM8x20-8.8 | 25Nm |
SA59减速机 | 6xM8x20-8.8 | 25Nm |
SA69减速机 | 万彩网28168xM12x25-8.8 | 86Nm |
SA79减速机 | 8xM12x35-8.8 | 86Nm |
SA89减速机 | 8xM16x35-8.8 | 210Nm |
SA99减速机 | 8xM16x35-8.8 | 210Nm |
SA49减速机电机安装和电机安装位置的调整:
均匀调整螺母将电机安装平台固定到需要的位置。如要将SA49减速机的位置调整到最低,则在必要情况下可以拆除吊装螺栓/吊耳;对于损伤的漆面部位进行修补。自锁减速机
万彩网2816将电机与电机安装平台对准(轴端不许对齐)并固定。
将输入端部件安装于输入端的轴端面和电机轴,将输入部件、轴端与电机轴的位置相互校正;如果必要可以对电机位置进行再次校正。
万彩网2816装上传动部件(V型皮带、链条...)并均匀调节电机安装平台使其预张紧。期间不得用力过猛,否则将会拧坏电机安装平台和螺杆。
拧紧非调整螺母以固定螺杆。伺服电机连接减速机

SA49减速机型号:
WSA47-Y0.12KW,WSA47-Y0.18KW,WSA47-Y0.25KW,WSA47-Y0.37KW,WSA47-Y0.55KW,WSA47-Y0.75KW,WSA47-Y1.1KW,WSA47-Y1.5KW,WSA47-Y63M4,WSA47-Y71M4,WSA47-Y80M4,WSA47-Y90M4,WSA47-YB63M4,WSA47-YB71M4,WSA47-YB80M4,WSA47-YB90M4,WSA47-YDP63M4,WSA47-YDP71M4,WSA47-YDP80M4,WSA47-YDP90M4,WSA47-YE63M4,WSA47-YE71M4,WSA47-YE80M4,WSA47-YE90M4,WSA47-YEJ63M4,WSA47-YEJ71M4,WSA47-YEJ80M4,WSA47-YEJ90M4,WSA47-YEJB63M4,WSA47-YEJB71M4,WSA47-YEJB80M4,WSA47-YEJB90M4,WSA47-YP63M4,WSA47-YP71M4,WSA47-YP80M4,WSA47-YP90M4,WSA47-YPB63M4,WSA47-YPB71M4,WSA47-YPB80M4,WSA47-YPB90M4,WSA47-YPE63M4,WSA47-YPE71M4,WSA47-YPE80M4,WSA47-YPE90M4,WSA47-YS63M4,WSA47-YS71M4,WSA47-YS80M4,WSA47-YS90M4,WSA47-YVB63M4,WSA47-YVB71M4,WSA47-YVB80M4,WSA47-YVB90M4,WSA47-YVP63M4,WSA47-YVP71M4,WSA47-YVP80M4,WSA47-YVP90M4,WSA47-YVPEJ63M4,WSA47-YVPEJ71M4,WSA47-YVPEJ80M4,WSA47-YVPEJ90M4,NSA47-Y0.12KW,NSA47-Y0.18KW,NSA47-Y0.25KW,NSA47-Y0.37KW,NSA47-Y0.55KW,NSA47-Y0.75KW,NSA47-Y1.1KW,NSA47-Y1.5KW,NSA47-Y63M4,NSA47-Y71M4,NSA47-Y80M4,NSA47-Y90M4,NSA47-YB63M4,NSA47-YB71M4,NSA47-YB80M4,NSA47-YB90M4,NSA47-YDP63M4,NSA47-YDP71M4,NSA47-YDP80M4,NSA47-YDP90M4,NSA47-YE63M4,NSA47-YE71M4,NSA47-YE80M4,NSA47-YE90M4,NSA47-YEJ63M4,NSA47-YEJ71M4,NSA47-YEJ80M4,NSA47-YEJ90M4,NSA47-YEJB63M4,NSA47-YEJB71M4,NSA47-YEJB80M4,NSA47-YEJB90M4,NSA47-YP63M4,NSA47-YP71M4,NSA47-YP80M4,NSA47-YP90M4,NSA47-YPB63M4,NSA47-YPB71M4,NSA47-YPB80M4,NSA47-YPB90M4,NSA47-YPE63M4,NSA47-YPE71M4,NSA47-YPE80M4,NSA47-YPE90M4,NSA47-YS63M4,NSA47-YS71M4,NSA47-YS80M4,NSA47-YS90M4,NSA47-YVB63M4,NSA47-YVB71M4,NSA47-YVB80M4,NSA47-YVB90M4,NSA47-YVP63M4,NSA47-YVP71M4,NSA47-YVP80M4,NSA47-YVP90M4,NSA47-YVPEJ63M4,NSA47-YVPEJ71M4,NSA47-YVPEJ80M4,NSA47-YVPEJ90M4,ASA47-Y0.12KW,ASA47-Y0.18KW,ASA47-Y0.25KW,ASA47-Y0.37KW,ASA47-Y0.55KW,ASA47-Y0.75KW,ASA47-Y1.1KW,ASA47-Y1.5KW,ASA47-Y63M4,ASA47-Y71M4,ASA47-Y80M4,ASA47-Y90M4,ASA47-YB63M4,ASA47-YB71M4,ASA47-YB80M4,ASA47-YB90M4,ASA47-YDP63M4,ASA47-YDP71M4,ASA47-YDP80M4,ASA47-YDP90M4,ASA47-YE63M4,ASA47-YE71M4,ASA47-YE80M4,ASA47-YE90M4,ASA47-YEJ63M4,ASA47-YEJ71M4,ASA47-YEJ80M4,ASA47-YEJ90M4,ASA47-YEJB63M4,ASA47-YEJB71M4,ASA47-YEJB80M4,ASA47-YEJB90M4,ASA47-YP63M4,ASA47-YP71M4,ASA47-YP80M4,ASA47-YP90M4,ASA47-YPB63M4,ASA47-YPB71M4,ASA47-YPB80M4,ASA47-YPB90M4,ASA47-YPE63M4,ASA47-YPE71M4,ASA47-YPE80M4,ASA47-YPE90M4,ASA47-YS63M4,ASA47-YS71M4,ASA47-YS80M4,ASA47-YS90M4,ASA47-YVB63M4,ASA47-YVB71M4,ASA47-YVB80M4,ASA47-YVB90M4,ASA47-YVP63M4,ASA47-YVP71M4,ASA47-YVP80M4,ASA47-YVP90M4,ASA47-YVPEJ63M4,ASA47-YVPEJ71M4,ASA47-YVPEJ80M4,ASA47-YVPEJ90M4,SSA47-Y0.12KW,SSA47-Y0.18KW,SSA47-Y0.25KW,SSA47-Y0.37KW,SSA47-Y0.55KW,SSA47-Y0.75KW,SSA47-Y1.1KW,SSA47-Y1.5KW,SSA47-Y63M4,SSA47-Y71M4,SSA47-Y80M4,SSA47-Y90M4,SSA47-YB63M4,SSA47-YB71M4,SSA47-YB80M4,SSA47-YB90M4,SSA47-YDP63M4,SSA47-YDP71M4,SSA47-YDP80M4,SSA47-YDP90M4,SSA47-YE63M4,SSA47-YE71M4,SSA47-YE80M4,SSA47-YE90M4,SSA47-YEJ63M4,SSA47-YEJ71M4,SSA47-YEJ80M4,SSA47-YEJ90M4,SSA47-YEJB63M4,SSA47-YEJB71M4,SSA47-YEJB80M4,SSA47-YEJB90M4,SSA47-YP63M4,SSA47-YP71M4,SSA47-YP80M4,SSA47-YP90M4,SSA47-YPB63M4,SSA47-YPB71M4,SSA47-YPB80M4,SSA47-YPB90M4,SSA47-YPE63M4,SSA47-YPE71M4,SSA47-YPE80M4,SSA47-YPE90M4,SSA47-YS63M4,SSA47-YS71M4,SSA47-YS80M4,SSA47-YS90M4,SSA47-YVB63M4,SSA47-YVB71M4,SSA47-YVB80M4,SSA47-YVB90M4,SSA47-YVP63M4,SSA47-YVP71M4,SSA47-YVP80M4,SSA47-YVP90M4,SSA47-YVPEJ63M4,SSA47-YVPEJ71M4,SSA47-YVPEJ80M4,SSA47-YVPEJ90M4,GSA49-Y0.12KW,GSA49-Y0.18KW,GSA49-Y0.25KW,GSA49-Y0.37KW,GSA49-Y0.55KW,GSA49-Y0.75KW,GSA49-Y1.1KW,GSA49-Y1.5KW,GSA49-Y63M4,GSA49-Y71M4,GSA49-Y80M4,GSA49-Y90M4,GSA49-YB63M4,GSA49-YB71M4,GSA49-YB80M4,GSA49-YB90M4,GSA49-YDP63M4,GSA49-YDP71M4,GSA49-YDP80M4,GSA49-YDP90M4,GSA49-YE63M4,GSA49-YE71M4,GSA49-YE80M4,GSA49-YE90M4,GSA49-YEJ63M4,GSA49-YEJ71M4,GSA49-YEJ80M4,GSA49-YEJ90M4,GSA49-YEJB63M4,GSA49-YEJB71M4,GSA49-YEJB80M4,GSA49-YEJB90M4,GSA49-YP63M4,GSA49-YP71M4,GSA49-YP80M4,GSA49-YP90M4,GSA49-YPB63M4,GSA49-YPB71M4,GSA49-YPB80M4,GSA49-YPB90M4,GSA49-YPE63M4,GSA49-YPE71M4,GSA49-YPE80M4,GSA49-YPE90M4,GSA49-YS63M4,GSA49-YS71M4,GSA49-YS80M4,GSA49-YS90M4,GSA49-YVB63M4,GSA49-YVB71M4,GSA49-YVB80M4,GSA49-YVB90M4,GSA49-YVP63M4,GSA49-YVP71M4,GSA49-YVP80M4,GSA49-YVP90M4,GSA49-YVPEJ63M4,GSA49-YVPEJ71M4,GSA49-YVPEJ80M4,GSA49-YVPEJ90M4。
SA49减速机生产厂家展示:看厂请联系微信13827261050,获取位置,需提前一天预约http://iowaprofamily.org/product/list-saxiliejiansuji-cn.html




推荐类似型号:S49减速机
关键词:私服电机带减速机一体机_伺服电机连接减速机_SA系列减速机_私服电机减速机_GSA系列减速机_SA系列减速器_伺服电机连接减速器_私服减速机_私服电机减速器
SA系列减速机型号:SA39减速机,SA49减速机,SA59减速机,SA69减速机,SA79减速机,SA89减速机,SA99齿轮减速电机
SA系列自锁减速机可配变频电机,刹车电机,防爆电机,伺服电机,交流电机,直流电机,三相电机,单相电机 0.12KW-22KW之间
如需工程师帮选型,请加微信13827261050,留言告知工程师参数要求
标签:   SA49减速机 SA47减速机结构图 SA47减速机数模 SA47减速机样本 SA47减速机规格